Sony è probabilmente uno dei marchi dell’elettronica di consumo che meglio di altri è riuscito, sfruttando il passaggio della fotografia analogica al digitale, ad ottenere una posizione di rilevo nel mondo della fotografia.
Il colosso nipponico infatti è uno dei più grossi produttori di sensori di piccolo taglio e rifornisce inoltre marchi con una vocazione fotografica storicamente di grande rilievo come Nikon, oltre ad avere a listino una serie di fotocamere che spazia dalle compatte al segmento delle fotocamere full frame.

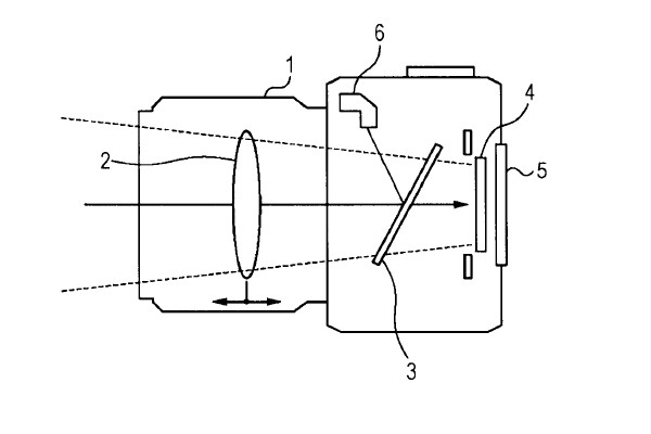
Tuttavia uno dei passi più importanti mossi da Sony nel mondo fotografia è senza dubbio lo sviluppo della tecnologia Translucent, in grado di dividere in due il percorso della luce che passa attraverso l’ottica della fotocamera e viaggia verso il sensore.

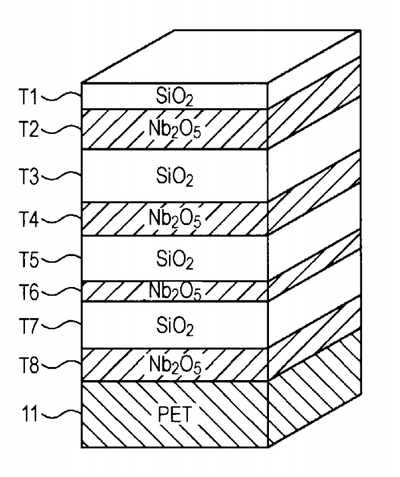
Nella descrizione del brevetto relativo alla tecnologia Translucent, disponibile a questo indirizzo si trovano diverse informazioni dettagliate riguardo il tipo di materiali utilizzati e naturalmente le caratteristiche di riflettanza dello speciale specchio semitrasparente adottato da Sony; il passaggio seguentente è un piccolo stralcio della descrizione dello specchio: "the light-beam splitting mirror has spectral characteristics including a reflectivity of 25% or more and 35% or less at all wavelengths from 400 to 650 nm and a reflectivity of 60% or more at a wavelength of 700 nm".

