Che Nikon sia al lavoro da più di qualche tempo su un prodotto che riesca a superare il classico filtro passa basso non è certamente un segreto. Con il lancio di due distinti modelli come D800 e D800E (che differiscono unicamente per la presenza del filtro AA) la casa nipponica, cosciente di una scelta radicale, ha cercato di moltiplicare l'offerta. Nikon, che negli ultimi anni ha depositato svariati brevetti riguardanti delle evoluzioni della tradizionale versione che costituisce il filtro AA ha ora depositato un brevetto particolarmente interessante. Il brevetto riguarda infatti un particolare tipo di filtro passa-basso del quale sarebbe possibile regolarne l'intensità (fino allo "spegnimento").

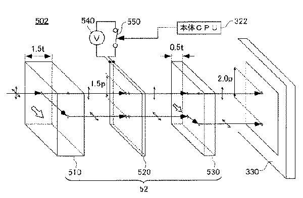
Solitamente le fotocamere digitali hanno un filtro passa-basso formato da un doppio sistema: la prima parte divide il percorso della luce in due e la stessa cosa è operata dalla seconda parte, in modo da dividere in 4 il percorso per ridurre il cosiddetto effetto moiré. Nikon avrebbe intenzione di inserire tra i due layer un terzo strato costituito da cristalli liquidi; tramite il passaggio di determinati livelli di elettricità attraverso i cristalli liquidi sarebbe possibile regolare l'intensità del filtro fino al completo "spegnimento", a seconda delle esigenze richieste dalla situazione. Ovviamente non è dato sapere se e quando il brevetto in questione verrà prodotto realmente ma la strada sembra tracciata da tempo e questa sembrerebbe, almeno sulla carta, una delle soluzioni possibili più interessanti.

