
Gli obiettivi decentrabili e basculanti Tilt&Shift sono il Sacro Graal di molti fotografi: la prima funzione è utilissima per la correzione prospettica delle immagini ed è fondamentale per alcuni scatti di architettura; la seconda permette di variare l'orientazione del piano focale a proprio piacimento ed è alla base del tanto di moda 'effetto miniatura'. Gli obiettivi basculanti e decentrabili non sono molti sul mercato e soprattutto non sono disponibili in una ampia gamma di focali; inoltre richiedono di dire addio all'autofocus. Un brevetto da poco depositato da Canon pare però aprire uno scenario completamente diverso. Attualmente esistono adattatori per trasformare ottiche 'normali' in basculanti e decentrabili, ma richiedono (visto che si va ad allungare il tiraggio e a usare parti periferiche del cerchio di copertura) l'uso di obiettivi medio formato, naturalmente perdendo ogni tipo di messa a fuoco assistita. Costi, ingombri e difficoltà d'uso scoraggiano molti dall'adottare questo tipo di soluzione.

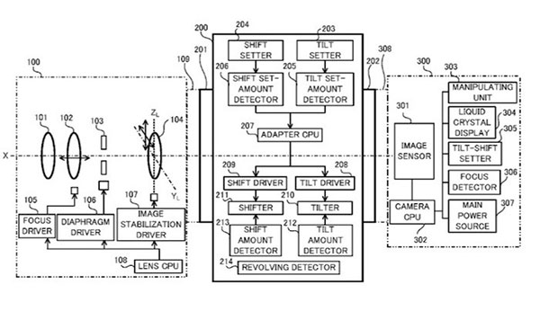
La soluzione proposta nel brevetto depositato da Canon prende la questione da un punto di vista completamente diverso e mira a utilizzare ottiche Canon EF e EF-S su corpi full frame e APS-C conservando inoltre le capacità autofocus. Per raggiungere questo risultato, che porterebbe davvero una rivoluzione nel mondo fotografico, l'adattatore progettato dai tecnici giapponesi fa ampio utilizzo dell'elettronica e non utilizza nessuna lente aggiuntiva. Comunicando sia con l'ottica, sia con il corpo macchina è in grado di stabilire l'area coperta dall'ottica e le dimensioni del sensore e, tramite i motori interni, di muovere le ottiche fino al limite del cerchio di copertura ed eventualmente di abilitare - per spostamenti più consistenti - automaticamente delle modalità di crop che evitino l'insorgere di forte vignettatura all'interno delle immagini. Facendo leva sull'elevata risoluzione degli attuali sensori (più di venti megapixel su APS-C e fino a 50 megapixel su full frame, c'è ampio spazio per muovere le ottiche e ottenere comunque risoluzioni finali delle foto più che soddisfacenti.

Il brevetto svela inoltre che, nel caso davanti all'adattatore sia montata un'ottica stabilizzata, il dispositivo sia un grado di sfruttare anche il movimento interno gruppo stabilizzato per contribuire al decentramento e al basculaggio. Nel brevetto si cita anche la possibilità di utilizzare in modo simile anche i sensori dotati di stabilizzazione, non è chiaro se questo sia semplicemente un modo per avere un sistema 'a prova di futuro' o se nel futuro prossimo di Canon ci sia anche lo sbarco di reflex o mirrorless con sensore stabilizzato. Dal brevetto sembra che l'autofocus possa essere abilitato tramite rilevazione di contrasto, quindi utilizzando il Live View e non con il modulo dedicato a rilevazione di fase.
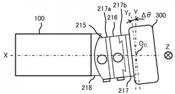
Per frenare un po' gli entusiasmi (anche il nostro) ricordiamo che si tratta solo di un brevetto, di un progetto su carta e non ci sono evidenze che possa diventare una realtà progettuale in futuro, vicino o lontano che sia. Ci sorge poi un dubbio: visto che il sistema si inserisce comunque tra ottica e corpo, modificando la distanza tra la lente posteriore e il sensore, il brevetto potrebbe essere dedicato alle mirrorless Canon EOS M, in questo caso conservando il giusto tiraggio per le ottiche EF ed EF-S. Abbiamo spento troppo gli entusiasmi? Voi cosa ne pensate?

