Samsung sta investendo parecchie risorse in ambito fotografico: il colosso coreano è attivo nella ricerca nel campo degli obiettivi per le sue mirrorless, ma ha molte divisioni al lavoro sullo studio di nuovi sensori, anche con l'obiettivo di rubare fette di mercato a Sony nella fornitura di elementi sensibili a produttori di fotocamere terzi.
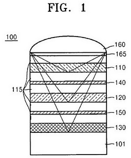
Image Sensors World riporta di un interessante brevetto depositato da Samsung: si tratta di un sensore a strati sensibili trasparenti, grazie all'uso di semiconduttori trasparenti. In pratica il primo strato sarebbe sensibile a tutte le componenti della radiazione luminosa (rosso, blu e verde), un secondo strato vedrebbe invece anteposto un filtro colore, che lasci passare solo le componenti complementari (ad esempio rosso e verde), filtrando un ulteriore componente della luce l'ultimo strato risulterebbe sensibile a una solo componente (ad esempio il verde), come accade normalmente nei sensori dotati di filtro Bayer.
![]()
Alternando in modo differente gli strati filtranti è possibili costruire un sensore con l'ultimo strato sensibile simile alla matrice Bayer, ma con sovrapposti due strati sensibili rispettivamente a 2 e a tutte le componenti della luce, incrementando così la sensibilità. Naturalmente gli stati non sono perfettamente trasparenti, in quanto devono interagire con la radiazione luminosa per poterne registrare l'intensità, sarebbe interessante capire se Samsung ha già studiato applicazioni pratiche e valutato la perdita dovuta a ogni strato.
Al momento si tratta solo di un brevetto, ma testimonia che la ricerca attorno alle nuove tecnologie legate ai sensori è fervente e le idee per estrarre dal cilindro qualcosa di differente stanno circolando.

