L'utilizzo di un filtro a matrice colorata Bayer è una caratteristica che accomuna tutte le fotocamere in circolazione, eccezion fatta per i prodotti Sigma equipaggiati con sensore X3 Foveon: in pratica ogni pixel riceve una sola componente della radiazione luminosa e poi il processore, attraverso gli algoritmi di demosaicing, ricostruisce le informazioni relative alle altre due componenti in base alle informazioni provenienti dai pixel adiacenti.
Questo processo, sebbene molto consolidato, porta con sé una serie di problemi e comunque comporta una perdita di luce dovendo passare per un filtro. I laboratori di tutti i produttori sono al lavoro per cercare una soluzione al problema e ogni tanto la pubblicazione di un brevetto permette di dare uno sguardo allo stato dell'arte della ricerca e sviluppo.

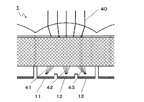
Interessante è la soluzione che hanno studiato e brevettato in casa Panasonic: grazie alla presenza di 'cristalli fotonici' che agiscono come prismi nel separare la luce nelle sue diverse componenti, ogni pixel è composto da sub pixel sensibili alle tre lunghezze d'onda fondamentali. In questo modo ogni pixel registra le informazioni delle tre componenti della luce, senza disperdere importanti fotoni nell'operazione di filtraggio. Al momento si tratta solo di un brevetto, ma potrebbe rappresentare un interessante passo avanti se trovasse implementazione pratica.

